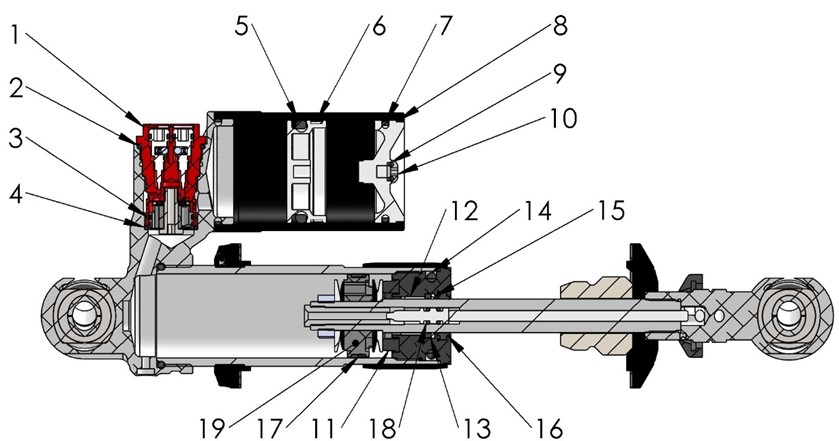
| Ref | Part Number | Description | Retail | |
|---|
| 1 | SAMU0001 | COMPRESSION ADJUSTER ASSEMBLY - CARD SHOCK - KING & 65 2016 | $ 0 |
|
| 2 | ZCMUB020 | O-RING - COMPRESSION CARTRIDGE - 2016 CARD SHOCK | $ 1.09 |
|
| 3 | KCMU0021 | O-RING - FORK - BASE VALVE & COMP ADJ | $ 1.09 |
|
| 4 | ZCMUOR37 | O-RING -BODY CAP COMPRESSION ASSY - FACE SEAL | $ 1.09 |
|
| 5 | SCMU0051 | O-RING - SHOCK IFP - CARD | $ 5.54 |
|
| 6 | SCMU0052 | SEAL BAND - SHOCK IFP - CARD | $ 14.45 |
|
| 7 | SCMU0033 | O-RING - SHOCK - BASE SEAL - CARD | $ 3.32 |
|
| 8 | SCMU0050 | RETAINER RING - SHOCK RESERVOIR CAP - CARD | $ 3.32 |
|
| 9 | SCMU0035 | O-RING - SHOCK - RESEVOIR CAP SCREW - CARD | $ 2.2 |
|
| 10 | HCBB0506 | M5 X 6 BUTTON HEAD ZINC PLATED | $ 1.09 |
|
| 11 | SCMU0044 | BUMPER -SEAL HEAD - SHOCK - CARD | $ 16.56 |
|
| 12 | SCMU0048 | BUSHING - SHOCK SHAFT - CARD | $ 16.67 |
|
| 13 | SCMU0046 | SEAL - X RING - SHOCK - CARD | $ 11.11 |
|
| 14 | SCMU0034 | O-RING - SHOCK - SEAL HEAD - CARD | $ 5.54 |
|
| 15 | SCMU0047 | SPACER - X RING SEAL - SHOCK - CARD | $ 7.65 |
|
| 16 | SCMU0045 | DUST SEAL - CARD SHOCK | $ 11.11 |
|
| 17 | SCC60014 | PISTON BAND - SHOCK - CARD | $ 14.45 |
|
| 18 | SCMU0059 | O-RING - SHOCK - REBOUND PIN - CARD | $ 1.09 |
|
| 19 | SCMU0091 | PISTON - SHOCK - CARD | $ 49.94 |
|
| ACCESSORY 1 | SKMU0003 | REBUILD KIT - CARD SHOCK (ALL BIKES) | $ 77.88 |
|
| SEAL HEAD | SCCM0001 | SEAL HEAD - CARD SHOCK | $ 49.94 |
|
| SEAL HEAED | SKMU0002 | KIT -SEAL HEAD REBUILD-CARD SHOCK | $ 69.97 |
|